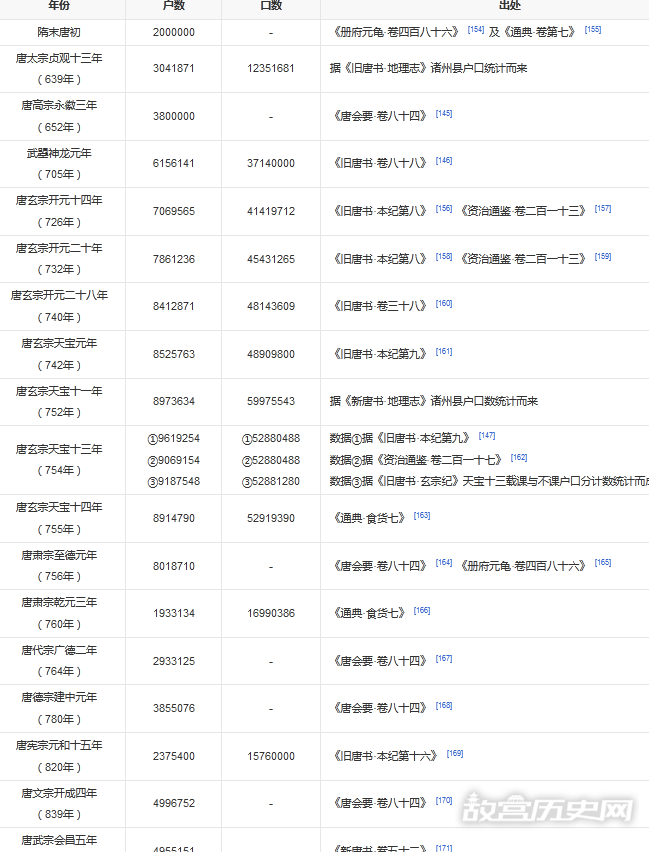
因隋炀帝杨广造成的隋末天下大乱导致全国人口锐减,至唐高祖武德年间仅200余万户,李唐统一全国后户口开始逐步恢复。唐太宗贞观十三年,户数恢复至304万,人口达1235万,又获塞外归附人口120余万。

《册府元龟·卷四百八十六》:显庆二年十月,高宗问中书令杜正伦隋有几户,正伦奏:“大业初有八百馀万户,末年离乱,至武德有二百馀万户。”
《通典·食货七》:大唐贞观户不满三百万。三年,户部奏,中国人因塞外来归及突厥前后降附开四夷为州县,获男女一百二十馀万口。
高宗永徽三年(652年)全国有户380万。《唐会要·卷八十四》:永徽三年七月。户部尚书高履行奏。计户三百八十万。
武则天神龙元年(705年)全国有户615万,约3714万人。
《旧唐书·卷八十八》:是岁,再迁户部尚书,奏计帐,所管户时有六百一十五万六千一百四十一。
唐玄宗天宝十三载(754年),户数9619254,口数52880488,为官方户口统计的峰值。《旧唐书·本纪第九》:其载,户部计今年见管州县户口:管郡总三百二十一,县一千五百三十八,乡一万六千八百二十九;户九百六十一万九千二百五十四,三百八十八万六千五百四不课,五百三十万一千四十四课;口五千二百八十八万四百八十八,四千五百二十一万八千四百八十不课,七百六十六万二千八百课。
安史之乱后,因藩镇割据及户籍统计和管理混乱废弛,户口数不符合实际情况,据学者分析广德二年(764年)全国人口至少有4600万到4700万左右,晚唐人口峰值达六千万左右。

现代学者们普遍认为唐朝的人口峰值出现于唐玄宗天宝十三载至十四载间(754年-755年),因学者考虑到佃农、隐户、奴仆、士兵、僧道、外族等不纳入户口统计的人而对唐朝人口峰值有不同看法。唐朝史学家杜佑认为唐朝天宝年间户口峰值为一千三四百万户;现代学者赵文林、谢淑君认为天宝十三载为唐朝人口顶峰,总人口数约为6300万;现代学者冻国栋认为唐朝人口峰值出现于天宝十三载,其中户数大约为1430-1540万户,对应人口7475-8050万人;现代学者王育民认为天宝年间的人口峰值约为8050万;葛剑雄认为天宝十四载左右的人口峰值约在8000-9000万之间;现代学者陈旭麓提出唐朝人口峰值是9254万人;日本学者日野开三郎更认为唐朝人口最高峰时约有2000万户,人口总数达1.4亿人。
唐朝时期的中国人思想开放,没有固步自封,善于吸收各民族各国的优秀文化,西域的乐舞艺术、古印度的佛教、梵剧、古日本、古朝鲜的文学和唐朝的互相渗透、融合,才出现了豪放、富丽的唐朝文学。文化上的兼容,对外开放上十分活跃,世界各地的人云集到首都长安,世界各地派使者到唐朝学习,把长安作为文化盛都。
唐朝至少在盛唐以前,经济上高度繁荣,诗人们能够外出游历。社会自由发达,女性地位明显提高,思想上改变禁锢,显出开放的性格,有自由恋爱的权利。人们可以自由结婚和离婚。